Förar- och passagerarsäten styrs med låshandtagen.
Låshandtagen ska vara i låst läge innan båtens hastighet överstiger 5 knop.

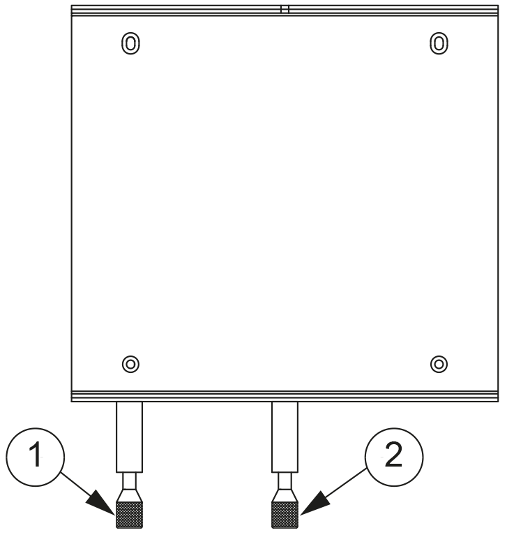
- (1)
-
Låshandtag för rotation
- (2)
-
Låshandtag för rörelse
-
För rotationsfunktionen trycker du ned låshandtaget för att låsa upp.
På detta vis kan du rotera sätet på stället.
-
För rörelsefunktionen lyfter du upp låshandtaget för att låsa upp.
På detta vis kan du röra sätet fram och tillbaka.